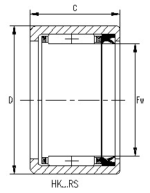
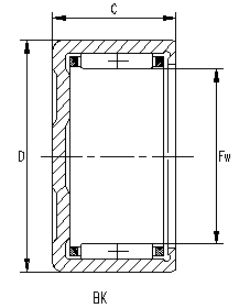
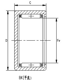
沖壓外圈滾針軸承的外圈是用薄鋼板精密沖壓成形,結構空間小,是具有較大負荷容量。適用于安裝空間受到限制和殼體孔不宜作為滾道的場合。且壓入座孔后不必進一步軸向定位。該類滾針軸承一般不用內圈,如果需要使用內圈,可從樣本中選取。同穿孔型沖壓外圈滾針軸承相比,封口型沖壓外圈滾針軸承對軸端軸承部位的密封極為有效。脂潤滑滾針軸承長期使用溫度為-20°C-120°C。



軸徑 Shaft Diameter | 軸承型號與近似重量 Bearing Designation and mass approx | 外形尺寸 Boundary Dimensions | 基本額定負荷 Basic Load Rating | 極限轉速 Limiting Speed | ||||||||
穿孔型 Open end | 重量 Mass | 封口型 Closed end | 重量 Mass | Fw | D | C | 動 Cr Dynamic | 靜 Cor Static | 油潤滑 Oil | |||
mm | 現行的 Current | 老型號 Original Code | g | 現行的Current | 老型號 Original Code | g | mm | N | rpm | |||
3 | HK0306TN | -- | 1 | BK0306TN | -- | 1 | 3 | 6.5 | 6 | 1230 | 840 | 48000 |
4 | HK0408TN | 37941/4 | 1.6 | BK0408TN | 35941/4 | 1.8 | 4 | 8 | 8 | 1540 | 1070 | 43000 |
5 | HK0509 | 47941/5 | 2 | BK0509 | 45941/5 | 2.1 | 5 | 9 | 9 | 2200 | 1790 | 39000 |
6 | HK0607 | 27941/6 | 1.8 | -- | -- | -- | 6 | 10 | 7 | 1600 | 1400 | 30000 |
HK0608 | 37941/6 | 2.1 | BK0608 | 35941/6 | 2.2 | 6 | 10 | 8 | 1830 | 1550 | 32000 | |
HK0609 | 47941/6 | 2.2 | BK0609 | 45941/6 | 2.6 | 6 | 10 | 9 | 2650 | 2400 | 30000 | |
HK0611 | -- | 2.3 | -- | -- | -- | 6 | 10 | 11 | 1700 | 1500 | 29000 | |
HK06×12×08 | 7941/6 | 2.5 | -- | -- | -- | 6 | 12 | 8 | 2230 | 2010 | 33000 | |
7 | HK0709 | 47941/7 | 2.3 | BK0709 | 45941/7 | 2.9 | 7 | 11 | 9 | 2800 | 2150 | 27000 |
HK07×12×08 | -- | 2.2 | -- | -- | -- | 7 | 12 | 8 | 3300 | 3220 | 37000 | |
HK07×12×09 | -- | 2.4 | -- | -- | -- | 7 | 12 | 9 | 3400 | 3150 | 37000 | |
8 | HK0808 | 37941/8 | 2.7 | BK0808 | 35941/8 | 3 | 8 | 12 | 8 | 2550 | 2400 | 21000 |
HK0810 | 57941/8 | 3 | BK0810 | 55941/8 | 3.4 | 8 | 12 | 10 | 3700 | 3450 | 21000 | |
HK08×14×10 | 27942/8 | 5.35 | BK08×14×10 | 25942/8 | 5.8 | 8 | 14 | 10 | 3800 | 3950 | 25000 | |
HK08×14×12 | 37942/8 | 6.5 | -- | -- | -- | 8 | 14 | 12 | 4100 | 4320 | 25000 | |
聯(lián)系人:謝經理
手機:18915054332
電話:0519-86396502
郵箱:czdtzc@163.com
地址: 常州市武進區(qū)牛塘鎮(zhèn)工業(yè)園區(qū)